bonjour je suis bloque dans cet exo il me demande de montrer que le filtre est coupe bande

Bonjour,
La méthode classique (comportement de C en continu et en HF) donne immédiatement que le filtre est passant en continu et en HF.
Vous voulez dire que cela n'est pas suffisant ?
je l ai fait c est evident mais apres comment je peut savoir le comporetement du circuit soit en BF ou en HF
Je ne comprends : "je l'ai fait c'est évident" donc vous savez que le gain à HF et BF vaut 1.
La seule chose qui pourrait ne pas coller pas avec un coupe-bande serait que le gain soit supérieur à 1 à fréquence quelconque. Mais physiquement si on regarde le circuit à une fréquence quelconque, cela fait apparaitre des diviseurs de tension, donc le gain va être inférieur à 1. Donc on a bien un coupe-bande.
Dans ce cas vous avez un circuit passif sans possibilité de résonance, donc le gain en dehors de BF HF ne peut qu'être inférieur à 1.
non sans regarder le gain par exemple moi j ai dis en BF la branche inferieur sera forme juste d interupteur ouvert et donc on peut la supprime il nous reste la branche superieur avec les resistances et comme i en sortie est nulle alors pas d attenuation en resistance et donc le signal va passer sans probleme mais ce que me parait incorrect c est le condensateur entre les resistances est ce qu il ne va pas influencer sur le signal??
"alors pas d'atténuation" (ce qui est correct) donc vous parlez bien d'un gain de 1 sans l'expliciter.
La question finale porte je suppose sur les deux condensateurs du bas : vous dites "interrupteur ouvert et donc on peut la supprimer" (1) et ensuite "est ce qu'il ne va pas influencer sur le signal ?" (2) : si (1) est correct (ce qui est le cas), je ne vois pas comment (2) pourrait arriver.
Si c'est sur le condensateur du haut, même remarque vous dites i=0 dans les deux résistances, donc i=0 dans le condensateur (ce qui est logique pour un interrupteur ouvert).
C'est bien cela, mais c'est le principe même de l'équivalence avec un interrupteur ouvert, donc la vérification n'est pas nécessaire.
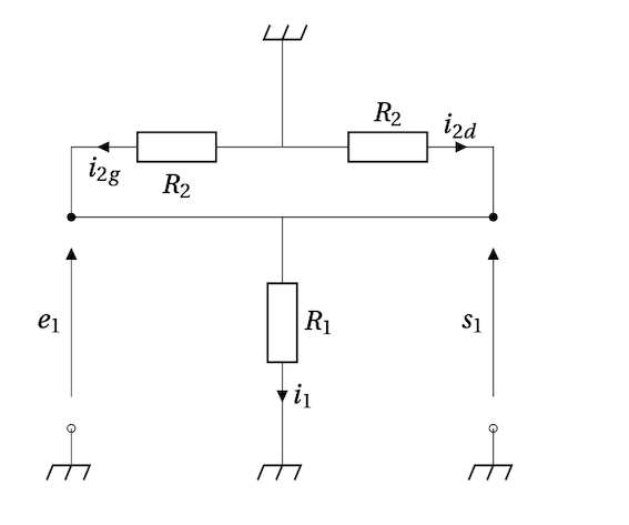
en HF la branche inf sera juste un fil avec une resistance et la branche sup des resistances et un fil relie a la masse mais le circuit alors ne sera pas court circuit car fil sans tension en paralle avec des resistances ou bien c est pas probleme car deja on is=0 donc pas de court circuit
"en HF la branche inf sera juste un fil " donc G=1, OK
Dans R1, il y aura un courant e1/R1, dans R2 à gauche i2g=-e1/r2, dans R2 à droite i2d=-e1/R2, non contradictoire avec is=0 : il y aura un courant fourni par le générateur à l'entrée qui se divisera en 2 pour aller à la masse "2" et la masse "1".

Vous devez être membre accéder à ce service...
Pas encore inscrit ?
1 compte par personne, multi-compte interdit !
Ou identifiez-vous :